半岛体育-王濛已成立多家公司

雷达财经讯,据报道,近日,短道速滑奥运冠军王濛拟被破格晋升,相关话题引发关注。
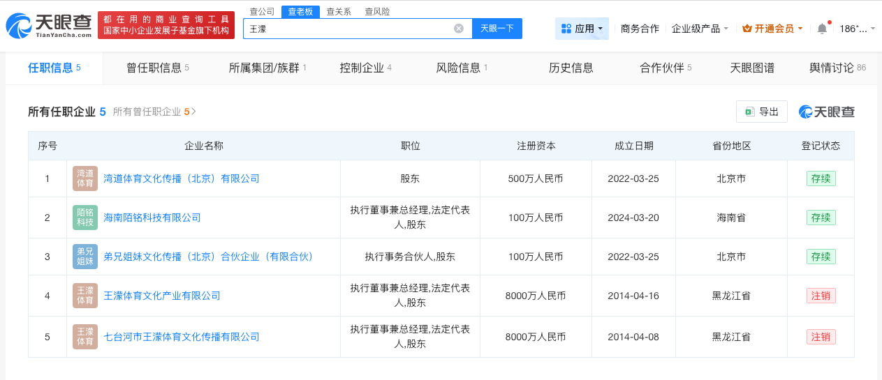
天眼查任职信息显示,王濛名下关联5家企业,包括湾道体育文化传播(北京)有限公司、海南陌铭科技有限公司、弟兄姐妹文化传播(北京)合伙企业(有限合伙)等,王濛在上述企业中担任法定代表人、执行董事兼总经理职务,版图涉及体育文化、科技等领域。
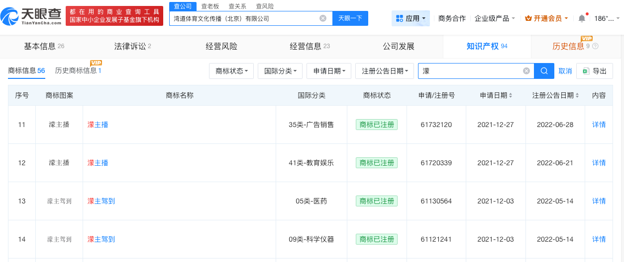
其中,湾道体育文化传播(北京)有限公司由王濛持股89%。该公司还持有"王濛""濛主播""濛主驾到"等多枚商标。



雷达财经讯,据报道,近日,短道速滑奥运冠军王濛拟被破格晋升,相关话题引发关注。
天眼查任职信息显示,王濛名下关联5家企业,包括湾道体育文化传播(北京)有限公司、海南陌铭科技有限公司、弟兄姐妹文化传播(北京)合伙企业(有限合伙)等,王濛在上述企业中担任法定代表人、执行董事兼总经理职务,版图涉及体育文化、科技等领域。
其中,湾道体育文化传播(北京)有限公司由王濛持股89%。该公司还持有"王濛""濛主播""濛主驾到"等多枚商标。

